Product Summary
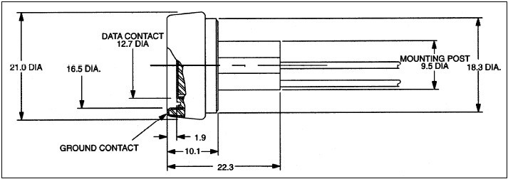
The DS9092T iButton probe provides the electrical contact necessary for the transfer of data to and from the DS19xx family of iButtons. The round probe shape provides a self-aligning interface that readily matches the circular rim of the iButton MicroCan package. Metal contacts resist wear and are easy to keep clean. The DS9092T is available with a flat faceplate (standard) or with optional tactile feedback. The center contact of the standard reader has no moving parts, making this a more rugged interface for harsh environments. This type of probe is best suited for designs where the iButton is brought into contact with the reader.
Features
Features:(1)Simple, low-cost metal stampings form a read/write probe for the iButton family; (2)Probe guides the entry of the iButton; (3)iButton slides over the surface to self-clean contacts; (4)Accessible shallow probe cavity simplifies removal of debris such as mud; (5)Flexible design supports panel-mount or hand-grip mount with optional tactile feedback ; (6)Bright tarnish-resistant metal surface provides millions of operations; (7)Panel-mount probe, prewired for easy installation; (8)Hand-grip probe mates to RJ-11 jack for quick installation.
Diagrams

| Image | Part No | Mfg | Description | ![]() |
Pricing (USD) |
Quantity | ||||||||||||
|---|---|---|---|---|---|---|---|---|---|---|---|---|---|---|---|---|---|---|
![]() |
![]() DS9092T# |
![]() Maxim Integrated Products |
![]() iButton Accessories iButton Probe |
![]() Data Sheet |
![]()
|
|
||||||||||||
![]() |
![]() DS9092T/NO-BRAND |
![]() Maxim Integrated Products |
![]() iButton Accessories |
![]() Data Sheet |
![]() Negotiable |
|
||||||||||||
(Hong Kong)







